Главная > Подшипники> Роликовые > Радиально-упорные>NP672511/NP546286

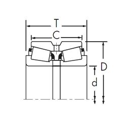
NP672511/NP546286 — Конический роликоподшипник, импортное производство по ISO стандарту, размер 55x95x29 номер основного исполнения .
Производитель: TIMKEN.
N = Канавка под стопорное кольцо в наружном кольце. Р5 = точность размеров и биение соответствуют допускам класса 5 согласно ISO (выше, чем классу Р6).
Цена по запросу
Цена на подшипник зависит от:
Габаритные размеры
Размеры и геометрические характеристики
Защита
Конструкция и исполнение
Однорядный конический роликовый подшипник 4T-JM207049/JM207010 (NTN)
Однорядный конический роликовый подшипник JM207049/JM207010 (FBJ, Fersa, KOYO, NIS, NSK)
Подшипник роликовый радиально-упорный JM207049/10 (CX, ISO)
Однорядный конический роликовый подшипник JM207049A/JM207010 (Fersa, TIMKEN)
Однорядный конический роликовый подшипник JM207049A/10 (CX, ISO)