Главная > Подшипники> Роликовые > Радиально-упорные>NP638318/NP477660

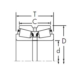
NP638318/NP477660 — Конический роликоподшипник, импортное производство по ISO стандарту, размер 25x47x15 номер основного исполнения .
Производитель: TIMKEN.
N = Канавка под стопорное кольцо в наружном кольце. P = Литой сепаратор из стеклонаполненного полиамида 6,6, центрируемый по телам качения.
Цена по запросу
Цена на подшипник зависит от:
Габаритные размеры
Размеры и геометрические характеристики
Защита
Конструкция и исполнение
Подшипник шариковый упорный однонаправленный 51205 (AST, CRAFT, CX, FAG, FBJ)
Однорядный конический роликовый подшипник 32005 (CRAFT, CYSD, FBJ, ISB, ISO)
Однорядный конический роликовый подшипник 32005 XJ (KBC, SKF)
Однорядный конический роликовый подшипник 32005 XQ (SKF)
Подшипник шариковый радиальный 60805 К1 (ГПЗ-23)
Подшипник роликовый радиально-упорный конический однорядный повышенной грузоподъемности 2007105 А (ГПЗ-15)