Главная > Подшипники> Роликовые > Радиально-упорные>NP636046/NP801481

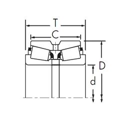
NP636046/NP801481 — Конический роликоподшипник, импортное производство по ISO стандарту, размер 25x59x23 номер основного исполнения .
Производитель: TIMKEN.
N = Канавка под стопорное кольцо в наружном кольце. P = Литой сепаратор из стеклонаполненного полиамида 6,6, центрируемый по телам качения.
Цена по запросу
Цена на подшипник зависит от:
Габаритные размеры
Размеры и геометрические характеристики
Защита
Конструкция и исполнение
Конический роликоподшипник 4T-M84249/M84210 (NTN)
Конический роликоподшипник K-M84249/K-M84210 (ZVL)
Однорядный конический роликовый подшипник M84249/M84210 (FBJ, Fersa, KOYO, NIS, NSK)
Подшипник роликовый радиально-упорный M84249/10 (CX, ISO)