Главная > Подшипники> Роликовые > Радиально-упорные>NP569484/NP644537

NP569484/NP644537 — Конический роликоподшипник, импортное производство по ISO стандарту, размер 82x140x36 номер основного исполнения .
Производитель: TIMKEN.
P64 = Класс точности Р6 и радиальная очистка С4.
Цена по запросу
Цена на подшипник зависит от:
Габаритные размеры
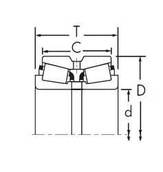
Размеры и геометрические характеристики
Защита
Конструкция и исполнение
Подшипник роликовый радиально-упорный 140082X/140140 (Gamet)
Подшипник роликовый радиально-упорный 140082X/140140C (Gamet)
Конический роликоподшипник BT1-0163/Q (SKF)
Конический роликоподшипник BT1-0127/Q (SKF)
Конический роликоподшипник NP062901/NP024261 (TIMKEN)