Главная > Подшипники> Роликовые > Радиально-упорные>NP566582/NP980884

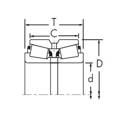
NP566582/NP980884 — Конический роликоподшипник, импортное производство по ISO стандарту, размер 45x73x19 номер основного исполнения .
Производитель: TIMKEN.
N = Канавка под стопорное кольцо в наружном кольце. P = Литой сепаратор из стеклонаполненного полиамида 6,6, центрируемый по телам качения.
Цена по запросу
Цена на подшипник зависит от:
Габаритные размеры
Размеры и геометрические характеристики
Защита
Конструкция и исполнение
Подшипник шариковый радиальный 8209Ю (ГПЗ-1)
Подшипник роликовый радиально-упорный 1007409 (EPK)
Однорядный конический роликовый подшипник 4T-LM102949/LM102910 (NTN)
Конический роликоподшипник BT1-0251/QVA621 (SKF)
Конический роликоподшипник H-LM102949/H-LM102910 (NACHI)
Подшипник роликовый радиально-упорный LM102949/10 (CX, ISO, PFI)