Главная > Подшипники> Роликовые > Радиально-упорные>NP561514/NP742592

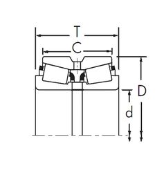
NP561514/NP742592 — Конический роликоподшипник, импортное производство по ISO стандарту, размер 40x67x17 номер основного исполнения .
Производитель: TIMKEN.
N = Канавка под стопорное кольцо в наружном кольце. P = Литой сепаратор из стеклонаполненного полиамида 6,6, центрируемый по телам качения.
Цена по запросу
Цена на подшипник зависит от:
Габаритные размеры
Размеры и геометрические характеристики
Защита
Конструкция и исполнение
Однорядный конический роликовый подшипник 4T-LM300849/LM300811 (NTN)
Однорядный конический роликовый подшипник BT1B328612C/QCL7C (SKF)
Однорядный конический роликовый подшипник EC12694S02H106 (SNR)
Однорядный конический роликовый подшипник EC12694H106 (SNR)
Подшипник роликовый радиально-упорный F15003 (Fersa)
Конический роликоподшипник H-LM300849/H-LM300811 (NACHI)