Главная > Подшипники> Роликовые > Радиально-упорные>NP548549/NP419272

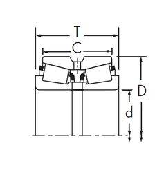
NP548549/NP419272 — Конический роликоподшипник, импортное производство по ISO стандарту, размер 22x50x14 номер основного исполнения .
Производитель: TIMKEN.
N = Канавка под стопорное кольцо в наружном кольце. P = Литой сепаратор из стеклонаполненного полиамида 6,6, центрируемый по телам качения.
Цена от:1 871 р.
Цена на подшипник зависит от:
Габаритные размеры
Размеры и геометрические характеристики
Защита
Конструкция и исполнение
Радиальный шарикоподшипник 62/22LU (NTN)
Подшипник однорядный шариковый радиальный 62/22N (KOYO, NACHI, NSK, NTN)
Подшипник однорядный шариковый радиальный 62/22LLU (NTN)
Подшипник однорядный шариковый радиальный 62/22NR (KOYO, NACHI, NIS, NSK, NTN)
Радиальный шарикоподшипник 62/22ZENR (NACHI)
Радиальный шарикоподшипник 62/22ZZE (NACHI)