Главная > Подшипники> Роликовые > Радиально-упорные>NP528108/NP621196

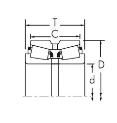
NP528108/NP621196 — Конический роликоподшипник, импортное производство по ISO стандарту, размер 55x90x23 номер основного исполнения .
Производитель: TIMKEN.
P62 = Класс точности Р6 и радиальная очистка С2.
Цена от:3 443 р.
Цена на подшипник зависит от:
Габаритные размеры
Размеры и геометрические характеристики
Защита
Конструкция и исполнение
Однорядный конический роликовый подшипник 32011 (CRAFT, CYSD, FBJ, ISB, ISO)
Подшипник шариковый радиально-упорный 986711 (ГПЗ-1)
Подшипник шариковый радиально-упорный 986711 С9
Подшипник роликовый радиально-упорный 2007111A (EPK)
Подшипник роликовый радиально-упорный конический однорядный 2007111 (32011X)