Главная > Подшипники> Роликовые > Радиально-упорные>M959442/10

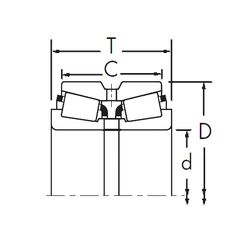
M959442/10 — Подшипник роликовый радиально-упорный, импортное производство по ISO стандарту, размер 304x499x101 номер основного исполнения .
Производится брендами: CX, ISO.
Цена по запросу
Цена на подшипник зависит от:
Габаритные размеры
Размеры и геометрические характеристики
Нагрузка и ресурс
Защита
Присоединительные размеры
Конструкция и исполнение
Однорядный конический роликовый подшипник M959442/M959410 (NSK, TIMKEN)
Конический роликоподшипник E-M959442/M959410 (NTN)