Главная > Подшипники> Роликовые > Радиально-упорные>M903345/10

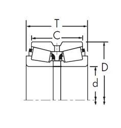
M903345/10 — Подшипник роликовый радиально-упорный, импортное производство по ISO стандарту, размер 41x92x26 номер основного исполнения .
Производится брендами: CX, ISO.
Цена по запросу
Цена на подшипник зависит от:
Габаритные размеры
Размеры и геометрические характеристики
Нагрузка и ресурс
Защита
Присоединительные размеры
Конструкция и исполнение
Конический роликоподшипник 4T-M903345/M903310 (NTN)
Однорядный конический роликовый подшипник M903345/M903310 (FBJ, TIMKEN)