Главная > Подшипники> Роликовые > Радиально-упорные>M804048/M804010

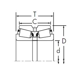
M804048/M804010 — Однорядный конический роликовый подшипник, импортное производство по ISO стандарту, размер 47x88x25 номер основного исполнения .
Производится брендами: FBJ, Fersa, TIMKEN.
M = массивный латунный сепаратор.
Цена от:1 301 р.
Цена на подшипник зависит от:
Габаритные размеры
Размеры и геометрические характеристики
Нагрузка и ресурс
Защита
Коэффициенты для расчета
Присоединительные размеры
Конструкция и исполнение
Конический роликоподшипник 4T-M804049/M804010 (NTN)
Конический роликоподшипник 4T-M804048/M804010 (NTN)
Подшипник роликовый радиально-упорный M804049/10 (CX, ISO)
Подшипник роликовый радиально-упорный M804048/10 (CX, ISO)
Однорядный конический роликовый подшипник M804049/M804010 (FBJ, Fersa, KOYO, NIS, NSK)
Конический роликоподшипник NP524102/NP912904 (TIMKEN)