Главная > Подшипники> Роликовые > Радиально-упорные>M268730/M268710CD+M268730XA

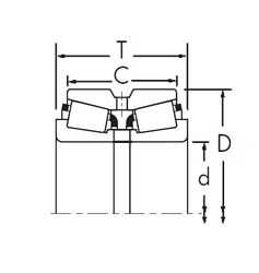
M268730/M268710CD+M268730XA — Конический роликоподшипник, импортное производство по ISO стандарту, размер 381x590x244 номер основного исполнения .
Производитель: TIMKEN.
D = профиль наружного кольца, усовершенствованный, с увеличенной зоной несущей нагрузки и оптимизированными краевыми переходами.
Цена по запросу
Цена на подшипник зависит от:
Габаритные размеры
Размеры и геометрические характеристики
Защита
Конструкция и исполнение