Главная > Подшипники> Роликовые > Радиально-упорные>M255449/10

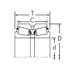
M255449/10 — Подшипник роликовый радиально-упорный, импортное производство по ISO стандарту, размер 288x406x77 номер основного исполнения .
Производится брендами: CX, ISO.
Цена от:24 728 р.
Цена на подшипник зависит от:
Габаритные размеры
Размеры и геометрические характеристики
Нагрузка и ресурс
Защита
Присоединительные размеры
Конструкция и исполнение
Однорядный конический роликовый подшипник M255449/M255410 (ISB, KOYO, NSK, TIMKEN)
Конический роликоподшипник 4T-CR-5812 (NTN)
Конический роликоподшипник M255449/M255410A (NTN)