Главная > Подшипники> Роликовые > Радиально-упорные>M249732/10

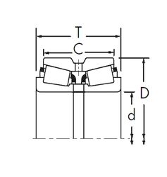
M249732/10 — Подшипник роликовый радиально-упорный, импортное производство по ISO стандарту, размер 228x358x71 номер основного исполнения .
Производится брендами: CX, ISO.
Цена по запросу
Цена на подшипник зависит от:
Габаритные размеры
Размеры и геометрические характеристики
Нагрузка и ресурс
Защита
Присоединительные размеры
Конструкция и исполнение
Однорядный конический роликовый подшипник M249732/M249710 (KOYO, TIMKEN)
Конический роликоподшипник T-M249732/M249710 (NTN)