Главная > Подшипники> Роликовые > Радиально-упорные>M241543/10

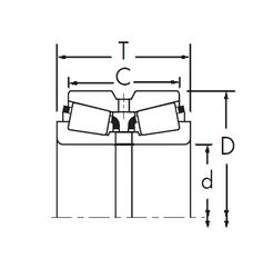
M241543/10 — Подшипник роликовый радиально-упорный, импортное производство по ISO стандарту, размер 200x292x57 номер основного исполнения .
Производится брендами: CX, ISO.
Цена по запросу
Цена на подшипник зависит от:
Габаритные размеры
Размеры и геометрические характеристики
Нагрузка и ресурс
Защита
Присоединительные размеры
Конструкция и исполнение
Однорядный конический роликовый подшипник M241543/M241510 (KOYO, TIMKEN)
Конический роликоподшипник T-M241543/M241510 (NTN)