Главная > Подшипники> Роликовые > Радиально-упорные>M238840/10

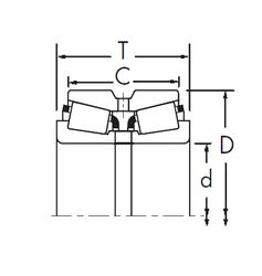
M238840/10 — Подшипник роликовый радиально-упорный, импортное производство по ISO стандарту, размер 177x269x55 номер основного исполнения .
Производится брендами: CX, ISO.
Цена по запросу
Цена на подшипник зависит от:
Габаритные размеры
Размеры и геометрические характеристики
Нагрузка и ресурс
Защита
Присоединительные размеры
Конструкция и исполнение