Главная > Подшипники> Роликовые > Радиально-упорные>M224748/M224710DC+M224748XA

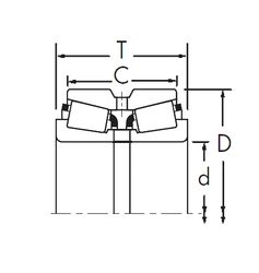
M224748/M224710DC+M224748XA — Конический роликоподшипник, импортное производство по ISO стандарту, размер 119x174x77 номер основного исполнения .
Производитель: TIMKEN.
C = радиальные шарикоподшипники поколения C, модифицированная внутренняя конструкция. M = Твердая латунная клетка с шариковой направляющей.
Цена по запросу
Цена на подшипник зависит от:
Габаритные размеры
Размеры и геометрические характеристики
Защита
Конструкция и исполнение