Главная > Подшипники> Роликовые > Радиально-упорные>M224748/M224710D+M224748XB

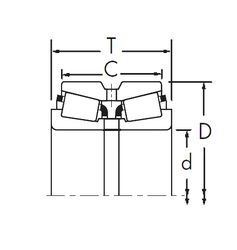
M224748/M224710D+M224748XB — Конический роликоподшипник, импортное производство по ISO стандарту, размер 119x174x77 номер основного исполнения .
Производитель: TIMKEN.
D = профиль наружного кольца, усовершенствованный, с увеличенной зоной несущей нагрузки и оптимизированными краевыми переходами.
Цена по запросу
Цена на подшипник зависит от:
Габаритные размеры
Размеры и геометрические характеристики
Защита
Конструкция и исполнение