Главная > Подшипники> Роликовые > Радиально-упорные>LM451349AX/10

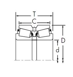
LM451349AX/10 — Подшипник роликовый радиально-упорный, импортное производство по ISO стандарту, размер 266x355x57 номер основного исполнения .
Производится брендами: CX, ISO.
X = Внешние размеры, соответствующие международным стандартам.
Цена по запросу
Цена на подшипник зависит от:
Габаритные размеры
Размеры и геометрические характеристики
Нагрузка и ресурс
Защита
Присоединительные размеры
Конструкция и исполнение
Однорядный конический роликовый подшипник LM451349/LM451310 (KOYO, NSK, TIMKEN)
Осевой радиальный шарикоподшипник 105TVB471 (TIMKEN)
Конический роликоподшипник 4T-LM451349/LM451310 (NTN)
Подшипник роликовый радиально-упорный KLM451349/KLM451310 (ISB)
Конический роликоподшипник LM451349/LM451310A (NTN)
Подшипник роликовый радиально-упорный LM451349/10 (CX, ISO)