Главная > Подшипники> Роликовые > Радиально-упорные>L853049/10

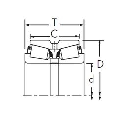
L853049/10 — Подшипник роликовый радиально-упорный, импортное производство по ISO стандарту, размер 276x352x36 номер основного исполнения .
Производится брендами: CX, ISO.
Цена от:115 740 р.
Цена на подшипник зависит от:
Габаритные размеры
Размеры и геометрические характеристики
Нагрузка и ресурс
Защита
Присоединительные размеры
Конструкция и исполнение
Однорядный конический роликовый подшипник L853049/L853010 (KOYO, NSK, NTN, TIMKEN)
Конический роликоподшипник E-L853049/L853010 (NTN)