Главная > Подшипники> Роликовые > Радиально-упорные>L826949/14

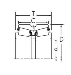
L826949/14 — Подшипник роликовый радиально-упорный, импортное производство по ISO стандарту, размер 133x184x25 номер основного исполнения .
Производится брендами: CX, ISO.
Цена по запросу
Цена на подшипник зависит от:
Габаритные размеры
Размеры и геометрические характеристики
Нагрузка и ресурс
Защита
Присоединительные размеры
Конструкция и исполнение
Подшипник однорядный шариковый радиальный XLJ5.1/4 (RHP)
Конический роликоподшипник L826949/L826914 (TIMKEN)