Главная > Подшипники> Роликовые > Радиально-упорные>L814749/L814710D+L814749XA

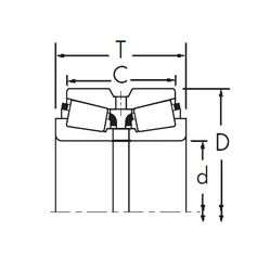
L814749/L814710D+L814749XA — Конический роликоподшипник, импортное производство по ISO стандарту, размер 76x109x42 номер основного исполнения .
Производитель: TIMKEN.
D = профиль наружного кольца, усовершенствованный, с увеличенной зоной несущей нагрузки и оптимизированными краевыми переходами.
Цена от:3 860 р.
Цена на подшипник зависит от:
Габаритные размеры
Размеры и геометрические характеристики
Защита
Конструкция и исполнение