Главная > Подшипники> Роликовые > Радиально-упорные>L623149/L623110D+L623149XA

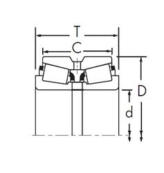
L623149/L623110D+L623149XA — Конический роликоподшипник, импортное производство по ISO стандарту, размер 114x152x47 номер основного исполнения .
Производитель: TIMKEN.
D = профиль наружного кольца, усовершенствованный, с увеличенной зоной несущей нагрузки и оптимизированными краевыми переходами.
Цена от:20 324 р.
Цена на подшипник зависит от:
Габаритные размеры
Размеры и геометрические характеристики
Защита
Конструкция и исполнение