Главная > Подшипники> Роликовые > Радиально-упорные>L540049/L540010D+L540049XA

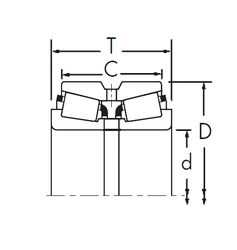
L540049/L540010D+L540049XA — Конический роликоподшипник, импортное производство по ISO стандарту, размер 196x254x61 номер основного исполнения .
Производитель: TIMKEN.
D = профиль наружного кольца, усовершенствованный, с увеличенной зоной несущей нагрузки и оптимизированными краевыми переходами.
Цена от:32 754 р.
Цена на подшипник зависит от:
Габаритные размеры
Размеры и геометрические характеристики
Защита
Конструкция и исполнение