Главная > Подшипники> Роликовые > Радиально-упорные>L521949/L521910D+L521949XA

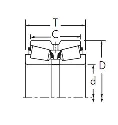
L521949/L521910D+L521949XA — Конический роликоподшипник, импортное производство по ISO стандарту, размер 107x146x49 номер основного исполнения .
Производитель: TIMKEN.
D = профиль наружного кольца, усовершенствованный, с увеличенной зоной несущей нагрузки и оптимизированными краевыми переходами.
Цена от:7 206 р.
Цена на подшипник зависит от:
Габаритные размеры
Размеры и геометрические характеристики
Защита
Конструкция и исполнение