Главная > Подшипники> Роликовые > Радиально-упорные>L507949/L507914D+L507949XS

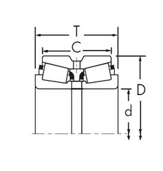
L507949/L507914D+L507949XS — Конический роликоподшипник, импортное производство по ISO стандарту, размер 57x92x42 номер основного исполнения .
Производитель: TIMKEN.
D = профиль наружного кольца, усовершенствованный, с увеличенной зоной несущей нагрузки и оптимизированными краевыми переходами.
Цена от:2 033 р.
Цена на подшипник зависит от:
Габаритные размеры
Размеры и геометрические характеристики
Защита
Конструкция и исполнение