Главная > Подшипники> Роликовые > Радиально-упорные>L44643/610

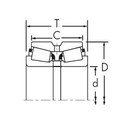
L44643/610 — Однорядный конический роликовый подшипник, импортное производство по ISO стандарту, размер 25x50x14 номер основного исполнения .
Производится брендами: ISB, SKF.
Цена от:478 р.
Цена на подшипник зависит от:
Габаритные размеры
Размеры и геометрические характеристики
Нагрузка и ресурс
Защита
Коэффициенты для расчета
Присоединительные размеры
Конструкция и исполнение
Подшипник роликовый радиально-упорный 2007405 А1 (ГПЗ-15)
Подшипник роликовый радиально-упорный 2007405A1 (EPK)
Подшипник роликовый радиально-упорный L44643/L44610
Конический роликоподшипник 07100/07196-07000LA (TIMKEN)
Конический роликоподшипник 07100/07196B (TIMKEN)
Конический роликоподшипник 07100-SA/07210XB (TIMKEN)