Главная > Подшипники> Роликовые > Радиально-упорные>L433749/L433710D+L433749XA

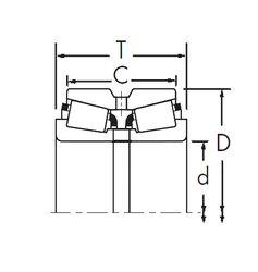
L433749/L433710D+L433749XA — Конический роликоподшипник, импортное производство по ISO стандарту, размер 165x215x58 номер основного исполнения .
Производитель: TIMKEN.
D = профиль наружного кольца, усовершенствованный, с увеличенной зоной несущей нагрузки и оптимизированными краевыми переходами.
Цена по запросу
Цена на подшипник зависит от:
Габаритные размеры
Размеры и геометрические характеристики
Защита
Конструкция и исполнение