Главная > Подшипники> Роликовые > Радиально-упорные>L225849/10

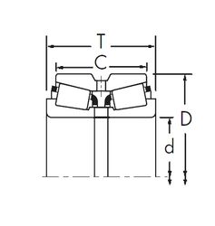
L225849/10 — Подшипник роликовый радиально-упорный, импортное производство по ISO стандарту, размер 127x169x25 номер основного исполнения .
Производится брендами: CX, ISO.
Цена по запросу
Цена на подшипник зависит от:
Габаритные размеры
Размеры и геометрические характеристики
Нагрузка и ресурс
Защита
Присоединительные размеры
Конструкция и исполнение
Однорядный конический роликовый подшипник L225849/L225810 (KOYO, NSK, TIMKEN)
Конический роликоподшипник 4T-L225849/L225810 (NTN)