Главная > Подшипники> Роликовые > Радиально-упорные>L217849/L217810DC+L217849XA

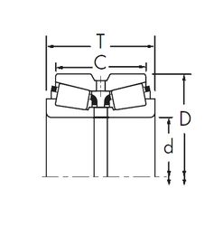
L217849/L217810DC+L217849XA — Конический роликоподшипник, импортное производство по ISO стандарту, размер 88x123x50 номер основного исполнения .
Производитель: TIMKEN.
D = профиль наружного кольца, усовершенствованный, с увеличенной зоной несущей нагрузки и оптимизированными краевыми переходами.
Цена от:18 958 р.
Цена на подшипник зависит от:
Габаритные размеры
Размеры и геометрические характеристики
Защита
Конструкция и исполнение