Главная > Подшипники> Роликовые > Радиально-упорные>L217847/L217810D+L217847XA

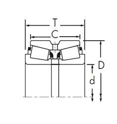
L217847/L217810D+L217847XA — Конический роликоподшипник, импортное производство по ISO стандарту, размер 87x123x50 номер основного исполнения .
Производитель: TIMKEN.
D = профиль наружного кольца, усовершенствованный, с увеличенной зоной несущей нагрузки и оптимизированными краевыми переходами.
Цена по запросу
Цена на подшипник зависит от:
Габаритные размеры
Размеры и геометрические характеристики
Защита
Конструкция и исполнение