Главная > Подшипники> Роликовые > Игольчатые>KT 155 x 163 x 26

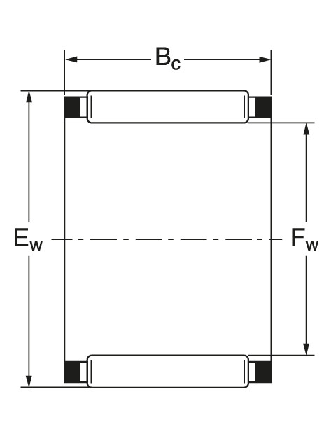
KT 155 x 163 x 26 — Роликовый игольчатый подшипник, импортное производство по ISO стандарту номер основного исполнения .
Производитель: NIS.
X = Внешние размеры, соответствующие международным стандартам.
Цена по запросу
Цена на подшипник зависит от:
Габаритные размеры
Прочие характеристики