Главная > Подшипники> Роликовые > Игольчатые>KT 130 x 137 x 24

KT 130 x 137 x 24 — Роликовый игольчатый подшипник, импортное производство по ISO стандарту номер основного исполнения .
Производитель: NIS.
X = Внешние размеры, соответствующие международным стандартам.
Цена по запросу
Цена на подшипник зависит от:
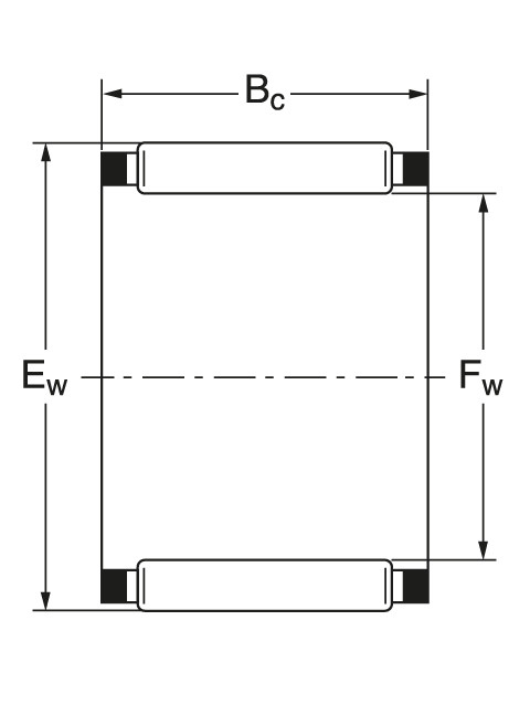
Габаритные размеры
Прочие характеристики