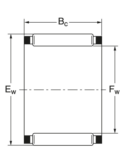
Главная > Подшипники> Роликовые > Игольчатые>KT 12 x 15 x 10

KT 12 x 15 x 10 — Роликовый игольчатый подшипник, импортное производство по ISO стандарту номер основного исполнения .
Производитель: NIS.
X = Внешние размеры, соответствующие международным стандартам.
Цена по запросу
Цена на подшипник зависит от:
Габаритные размеры
Прочие характеристики