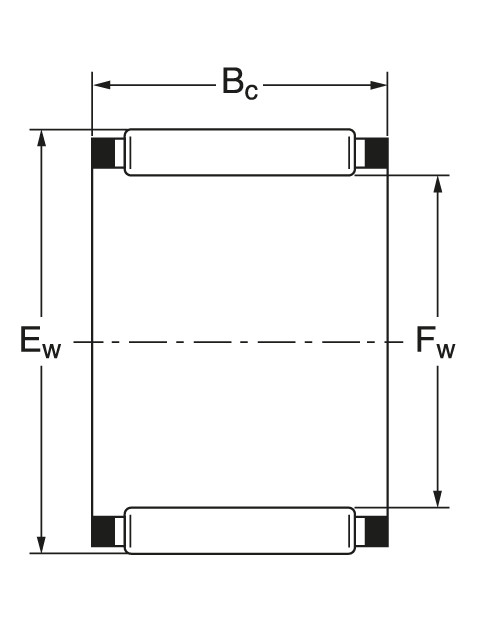
Главная > Подшипники> Роликовые > Игольчатые>KT 10 x 13 x 16

KT 10 x 13 x 16 — Роликовый игольчатый подшипник, импортное производство по ISO стандарту номер основного исполнения .
Производитель: NIS.
X = Внешние размеры, соответствующие международным стандартам.
Цена по запросу
Цена на подшипник зависит от:
Габаритные размеры
Прочие характеристики