Главная > Подшипники> Роликовые > Радиально-упорные>K3984-3920

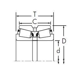
K3984-3920 — Конический роликоподшипник, импортное производство по ISO стандарту, размер 66x112x30 номер основного исполнения .
Производитель: FAG.
Игольчатый роликоподшипник без колец.
Цена по запросу
Цена на подшипник зависит от:
Габаритные размеры
Размеры и геометрические характеристики
Нагрузка и ресурс
Защита
Коэффициенты для расчета
Присоединительные размеры
Конструкция и исполнение
Однорядный конический роликовый подшипник 39591/39520 (CX, ISO, TIMKEN)
Однорядный конический роликовый подшипник 39590/39521 (CX, ISO, KOYO, NIS, NSK)
Однорядный конический роликовый подшипник 39590/39520/Q (SKF)
Однорядный конический роликовый подшипник 39590/39520 (CRAFT, CX, FBJ, Fersa, ISB)
Однорядный конический роликовый подшипник 39590/39520B (TIMKEN)
Конический роликоподшипник 39590/20 (PFI)