Главная > Подшипники> Роликовые > Радиально-упорные>K34306-34478

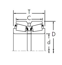
K34306-34478 — Конический роликоподшипник, импортное производство по ISO стандарту, размер 77x121x24 номер основного исполнения .
Производитель: FAG.
Игольчатый роликоподшипник без колец.
Цена по запросу
Цена на подшипник зависит от:
Габаритные размеры
Размеры и геометрические характеристики
Нагрузка и ресурс
Защита
Коэффициенты для расчета
Присоединительные размеры
Конструкция и исполнение
Подшипник роликовый радиально-упорный 123077X/123121XC (Gamet)
Подшипник роликовый радиально-упорный 123077X/123121X (Gamet)
Однорядный конический роликовый подшипник 34307/34478 (CX, FBJ, ISO, KOYO, TIMKEN)
Однорядный конический роликовый подшипник 34306/34478 (CX, FBJ, Fersa, ISO, KOYO)