Главная > Подшипники> Роликовые > Радиально-упорные>K33287-33462

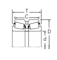
K33287-33462 — Однорядный конический роликовый подшипник, импортное производство по ISO стандарту, размер 73x117x30 номер основного исполнения .
Производитель: FAG.
Игольчатый роликоподшипник без колец.
Цена по запросу
Цена на подшипник зависит от:
Габаритные размеры
Размеры и геометрические характеристики
Нагрузка и ресурс
Защита
Коэффициенты для расчета
Присоединительные размеры
Конструкция и исполнение
Однорядный конический роликовый подшипник 33287/33462 (CX, FBJ, Fersa, ISB, ISO)
Однорядный конический роликовый подшипник 33287/33462B (TIMKEN)
Однорядный конический роликовый подшипник 4T-33287/33462 (NTN)