Главная > Подшипники> Роликовые > Радиально-упорные>K28985-28921

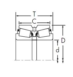
K28985-28921 — Конический роликоподшипник, импортное производство по ISO стандарту, размер 60x100x25 номер основного исполнения .
Производитель: FAG.
Игольчатый роликоподшипник без колец.
Цена по запросу
Цена на подшипник зависит от:
Габаритные размеры
Размеры и геометрические характеристики
Нагрузка и ресурс
Защита
Коэффициенты для расчета
Присоединительные размеры
Конструкция и исполнение
Подшипник роликовый радиально-упорный 2-67712 Л (ГПЗ-15)
Подшипник роликовый радиально-упорный 2067712A (EPK)
Подшипник шариковый радиально-упорный 2067712 А (ГПЗ-15)
Подшипник роликовый радиально-упорный 4-67712 Л (ГПЗ-15)
Подшипник роликовый радиально-упорный 67712 Л
Подшипник роликовый радиально-упорный 113060/113100C (Gamet)