Главная > Подшипники> Роликовые > Радиально-упорные>JP13049/JP13010

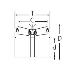
JP13049/JP13010 — Однорядный конический роликовый подшипник, импортное производство по ISO стандарту, размер 130x185x29 номер основного исполнения .
Производится брендами: Fersa, TIMKEN.
P = Литой сепаратор из стеклонаполненного полиамида 6,6, центрируемый по телам качения.
Цена от:11 046 р.
Цена на подшипник зависит от:
Габаритные размеры
Размеры и геометрические характеристики
Нагрузка и ресурс
Защита
Коэффициенты для расчета
Присоединительные размеры
Конструкция и исполнение
Подшипник роликовый радиально-упорный JP13049/10 (CX, ISO)
Подшипник роликовый радиально-упорный JP13049A/10 (CX, ISO)
Однорядный конический роликовый подшипник JP13049A/JP13010 (TIMKEN)
Однорядный конический роликовый подшипник T4CB130 (CX, FAG, ISO, KOYO, NKE)