Главная > Подшипники> Роликовые > Радиально-упорные>JP12049A/JP12010

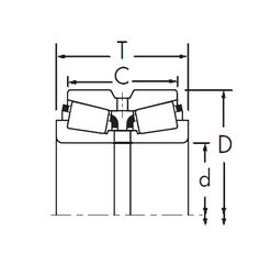
JP12049A/JP12010 — Однорядный конический роликовый подшипник, импортное производство по ISO стандарту, размер 120x170x27 номер основного исполнения .
Производится брендами: Fersa, TIMKEN.
A = Модифицированная внутренняя конструкция. J = Штампованный стальной сепаратор, центрируемый по роликам.
Цена от:13 979 р.
Цена на подшипник зависит от:
Габаритные размеры
Размеры и геометрические характеристики
Нагрузка и ресурс
Защита
Коэффициенты для расчета
Конструкция и исполнение
Конический роликоподшипник 4T-T4CB120 (NTN)
Подшипник роликовый радиально-упорный JP12049A/10 (CX, ISO)
Подшипник роликовый радиально-упорный JP12049/10 (CX, ISO)
Однорядный конический роликовый подшипник JP12049/JP12010 (Fersa, TIMKEN)
Однорядный конический роликовый подшипник T4CB120 (CX, FAG, ISO, KOYO, NKE)
Однорядный конический роликовый подшипник T4CB120-XL (FAG)