Главная > Подшипники> Роликовые > Радиально-упорные>JP10049/JP10010

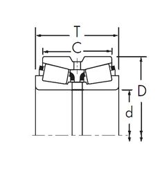
JP10049/JP10010 — Однорядный конический роликовый подшипник, импортное производство по ISO стандарту, размер 100x145x24 номер основного исполнения .
Производится брендами: Fersa, TIMKEN.
P = Литой сепаратор из стеклонаполненного полиамида 6,6, центрируемый по телам качения.
Цена от:11 855 р.
Цена на подшипник зависит от:
Габаритные размеры
Размеры и геометрические характеристики
Нагрузка и ресурс
Защита
Коэффициенты для расчета
Присоединительные размеры
Конструкция и исполнение
Однорядный конический роликовый подшипник 4T-T4CB100 (NTN)
Подшипник роликовый радиально-упорный JP10049A/10 (CX, ISO)
Однорядный конический роликовый подшипник JP10049/JP10010A (TIMKEN)
Конический роликоподшипник JP10049A/JP10010A (TIMKEN)
Подшипник роликовый радиально-упорный JP10049/10 (CX, ISO)
Однорядный конический роликовый подшипник JP10049A/JP10010 (TIMKEN)