Главная > Подшипники> Роликовые > Радиально-упорные>JM714249/JM714210

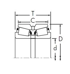
JM714249/JM714210 — Однорядный конический роликовый подшипник, импортное производство по ISO стандарту, размер 75x120x31 номер основного исполнения .
Производится брендами: FBJ, Fersa, KOYO, NIS, NSK, TIMKEN.
J = Сепаратор стальной штампованный незакалённый.
Цена от:3 036 р.
Цена на подшипник зависит от:
Габаритные размеры
Размеры и геометрические характеристики
Нагрузка и ресурс
Защита
Коэффициенты для расчета
Присоединительные размеры
Конструкция и исполнение
Прочие характеристики
Подшипник роликовый радиально-упорный 7915 А (ГПЗ-15)
Конический роликоподшипник 4T-JM714249/JM714210 (NTN)
Конический роликоподшипник JM714249A/JM714210 (TIMKEN)
Подшипник роликовый радиально-упорный JM714249/10 (CX, ISO)
Подшипник роликовый радиально-упорный JM714249A/10 (CX, ISO)