Главная > Подшипники> Роликовые > Радиально-упорные>JLM714149/JLM714110

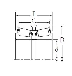
JLM714149/JLM714110 — Однорядный конический роликовый подшипник, импортное производство по ISO стандарту, размер 75x115x25 номер основного исполнения .
Производится брендами: FBJ, Fersa, KOYO, NIS, NSK, TIMKEN.
J = Сепаратор стальной штампованный незакалённый.
Цена от:2 026 р.
Цена на подшипник зависит от:
Габаритные размеры
Размеры и геометрические характеристики
Нагрузка и ресурс
Защита
Коэффициенты для расчета
Присоединительные размеры
Конструкция и исполнение
Прочие характеристики
Однорядный конический роликовый подшипник 32015 (CRAFT, CYSD, FBJ, ISB, ISO)
Однорядный конический роликовый подшипник 32015 X (FAG, NIS, NKE, NTN, PFI)
Подшипник роликовый радиально-упорный конический однорядный повышенной грузоподъемности 2007115 А
Подшипник роликовый радиально-упорный 2007115A (EPK)
Подшипник роликовый радиально-упорный конический однорядный повышенной грузоподъемности 3007115А
Подшипник роликовый радиально-упорный конический однорядный повышенной грузоподъемности с упорным бортом на наружном кольце 3067115А