Главная > Подшипники> Роликовые > Радиально-упорные>JLM710949C/10

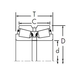
JLM710949C/10 — Подшипник роликовый радиально-упорный, импортное производство по ISO стандарту, размер 65x105x24 номер основного исполнения .
Производится брендами: CX, ISO.
С1 = Внутренний зазор подшипника меньше С2.
Цена по запросу
Цена на подшипник зависит от:
Габаритные размеры
Размеры и геометрические характеристики
Нагрузка и ресурс
Защита
Присоединительные размеры
Конструкция и исполнение
Конический роликоподшипник 4T-JLM710949C/JLM710910 (NTN)
Конический роликоподшипник 4T-JLM710949/JLM710910 (NTN)
Однорядный конический роликовый подшипник JLM710949/JLM710910 (FBJ, KBC, KOYO, NIS, NSK)
Однорядный конический роликовый подшипник JLM710949C/JLM710910 (Fersa, TIMKEN)
Подшипник роликовый радиально-упорный JLM710949/10 (CX, ISO)