Главная > Подшипники> Роликовые > Радиально-упорные>JL730646/12

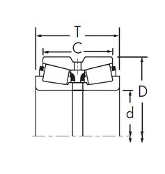
JL730646/12 — Подшипник роликовый радиально-упорный, импортное производство по ISO стандарту, размер 150x205x28 номер основного исполнения .
Производится брендами: CX, ISO.
Цена от:94 688 р.
Цена на подшипник зависит от:
Габаритные размеры
Размеры и геометрические характеристики
Нагрузка и ресурс
Защита
Присоединительные размеры
Конструкция и исполнение
Конический роликоподшипник JL730646/JL730612B (TIMKEN)
Однорядный конический роликовый подшипник JL730646/JL730612 (TIMKEN)