Главная > Подшипники> Роликовые > Радиально-упорные>J90354/48

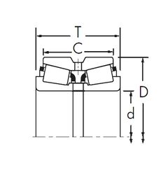
J90354/48 — Подшипник роликовый радиально-упорный, импортное производство по ISO стандарту, размер 90x190x50 номер основного исполнения .
Производится брендами: CX, ISO.
Цена от:23 860 р.
Цена на подшипник зависит от:
Габаритные размеры
Размеры и геометрические характеристики
Нагрузка и ресурс
Защита
Присоединительные размеры
Конструкция и исполнение
Конический роликоподшипник 4T-J90354/J90748 (NTN)
Однорядный конический роликовый подшипник J90354/J90748 (FBJ, TIMKEN)