Главная > Подшипники> Роликовые > Радиально-упорные>HM88648/HM88610

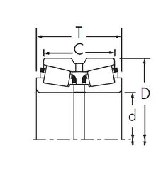
HM88648/HM88610 — Однорядный конический роликовый подшипник, импортное производство по ISO стандарту, размер 35x72x25 номер основного исполнения .
Производится брендами: FBJ, Fersa, KOYO, NIS, NSK, TIMKEN.
H = высокая, узкая каретка для двухрядного шарикоподшипника и направляющей в сборе.
Цена от:867 р.
Цена на подшипник зависит от:
Габаритные размеры
Размеры и геометрические характеристики
Нагрузка и ресурс
Защита
Коэффициенты для расчета
Присоединительные размеры
Конструкция и исполнение
Прочие характеристики
Подшипник однорядный шариковый радиальный 88507 (CYSD, NTN, SIGMA)
Подшипник для корпуса AEL207D1 (NTN)
Радиальный шарикоподшипник BB1-1618 TN9 (SKF)
Радиальный шарикоподшипник F-806027.02 (FAG)
Подшипник для корпуса FD207 (CX)
Подшипник для корпуса GRAE35-NPP-B (INA, NKE)