Главная > Подшипники> Роликовые > Радиально-упорные>HM807040/HM807010

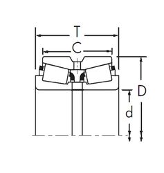
HM807040/HM807010 — Однорядный конический роликовый подшипник, импортное производство по ISO стандарту, размер 44x104x36 номер основного исполнения .
Производится брендами: FBJ, Fersa, KOYO, NSK, TIMKEN.
H = высокая, узкая каретка для двухрядного шарикоподшипника и направляющей в сборе.
Цена от:2 124 р.
Цена на подшипник зависит от:
Габаритные размеры
Размеры и геометрические характеристики
Нагрузка и ресурс
Защита
Коэффициенты для расчета
Присоединительные размеры
Конструкция и исполнение
Однорядный конический роликовый подшипник 4T-59175/59412 (NTN)
Однорядный конический роликовый подшипник 4T-HM807040/HM807010 (NTN)
Подшипник роликовый радиально-упорный 59175/59413 (KOYO, TIMKEN)
Подшипник роликовый радиально-упорный 59176/59412 (KOYO, TIMKEN)
Однорядный конический роликовый подшипник 59176/59413 (TIMKEN)
Однорядный конический роликовый подшипник 59175/59412 (CX, ISO, TIMKEN)