Главная > Подшипники> Роликовые > Радиально-упорные>HM746646/10

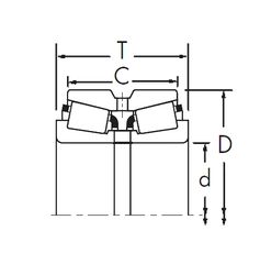
HM746646/10 — Подшипник роликовый радиально-упорный, импортное производство по ISO стандарту, размер 228x355x69 номер основного исполнения .
Производится брендами: CX, ISO.
Цена по запросу
Цена на подшипник зависит от:
Габаритные размеры
Размеры и геометрические характеристики
Нагрузка и ресурс
Защита
Присоединительные размеры
Конструкция и исполнение
Однорядный конический роликовый подшипник EE130902/131400 (KOYO, NSK, TIMKEN)
Подшипник роликовый радиально-упорный HM746646/HM746610 (KOYO, NSK, NTN, TIMKEN)
Подшипник роликовый радиально-упорный HM746645/10 (CX, ISO)
Конический роликоподшипник T-EE130902/131400 (NTN)